项目名称:九龙商业中心电能管理系统
项目地点:福州
实施时间:
项目为位于福州市琅岐岛,占地面积41980平方米,总建筑面积97004平方米的商业综合体。
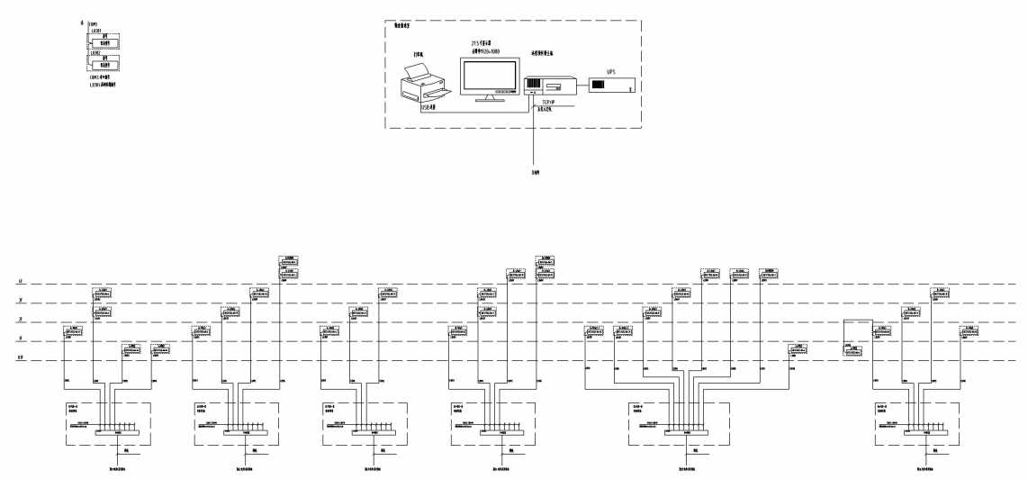
Acrel-3000V7.1电能管理系统,在结构设计和工程配置上充分考虑项目的实际情况,完全的实现相关功能,满足电力系统线路运行的相关要求,体现系统的各项技术特点。实现分散控制、集中管理、综合监控。本项目电能管理系统采用分层分布式结构包括站控管理层、网络通讯层及现场设备层。站控层设置在消防控制室,有主机、显示器 、通讯管理机等设备组成。可为上级管理系统预留通讯接口,可以进行相关数据信息的转发和远传,从而实现资源信息的共享。
1、数据采集与处理
2、人机交互
3、历史事件
4、数据库建立与查询
5、用户权限管理
6、运行负荷曲线
7、电能报表查询
